इलेक्ट्रिक रस्सी ऊपर उठाना 1ton 3ton 5ton
भारोत्तोलन क्षमता:0.5टन-32 टन
वोल्टेज:220V-440V
वाक्यांश:3
उठाने की ऊँचाई:6मी-30मी
प्रमाणन: सीई आईएसओ
रंग: अनुकूलित
स्थितिः नई
वारंटी:3 साल
विवरण
इलेक्ट्रिक रस्सी लहरा 1ton 3ton 5ton विवरण:
सीडी/एमडी इलेक्ट्रिक वायर रोप होइस्ट सबसे व्यापक रूप से इस्तेमाल किया जाने वाला जिन्न उत्पाद है। लोग कहीं भी 16 टन तक उठाना चाहते हैं, सीडी/एमडी होइस्ट काम कर सकते हैं। 50 टन तक की बड़ी क्षमता, एचसी / एचएम आपका सही समाधान है।
बहुमुखी प्रतिभा का अर्थ है आपकी हर उठाने की आवश्यकता के लिए कस्टम-अनुरूप समाधान। जब आपके पास जगह हो तो एक सामान्य हेडरूम उत्थापन ट्रॉली चुनें, या जब आपके पास कम हेडरूम मॉडल न हो। मोनोरेल या डबल गर्डर मॉडल में उपलब्ध, लचीलापन महत्वपूर्ण है। बिजली के तार रस्सी लहरा आपके रनवे और आपके भवन की आवश्यकताओं के लिए अनुकूल है।
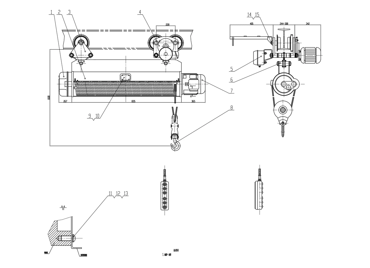
इलेक्ट्रिक रस्सी लहरा 1ton 3ton 5ton ड्राइंग

इलेक्ट्रिक रस्सी लहरा 1ton 3ton 5ton पैरामीटर्स
| नमूना | 0.25 टन | 0.5 टन | 1 टन | 2 टन | 3 टन | 5 टन | 10 टन |
| क्षमता टन | 0.25 | 0.5 | 1 | 2 | 3 | 5 | 10 |
| मानक लिफ्ट एम | 3-9 | 6-12 | 6-30 | 6-30 | 6-30 | 6-30 | 6-30 |
| भारोत्तोलन ऊँचाई मी / मिनट | 88/0.8 | 88/0.8 | 88/0.8 | 88/0.8 | 88/0.8 | 88/0.8 | 77/0.7 |
| रनिंग स्पीड मी / मिनट | 20/30 | ||||||
| तार रस्सी प्रकार | 6*19-3.6 | 6*37-4.8-180 | 6*37-7.4-180 | 6*37-11-155 | 6*37-13-170 | 6*37-15-200 | 6*37-15-200 |
| मैं बीम ट्रैक प्रकार | 16-22b | 16-28b | 16-28b | 20a-32c | 20a-32c | 25a-63c | 28a-63c |
| 0.8लूप ट्रैक न्यूनतम त्रिज्या m | 0.8 | 1.5 | 1.5-4 | 2-4 | 2-4 | 2.5-5 | 3.5-9 |
| वोल्टेज वी | 380 | 380 | 380 | 380 | 380 | 380 | 380 |
| आवृत्ति एचजेड | 50 | 50 | 50 | 50 | 50 | 50 | 50 |
| अवस्था | 3 | 3 | 3 | 3 | 3 | 3 | 3 |
इलेक्ट्रिक वायर रस्सी ऊपर उठाना की मुख्य विशेषताएं
1. कॉम्पैक्ट संरचना, हल्के वजन, सुरक्षित और भरोसेमंद 2. घटक और भागों सार्वभौमिक रूप से उपयोग किए जाते हैं, मजबूत संगतता 3. उच्च उठाने की क्षमता, आसान रखरखाव 4. आसान संचालन, सटीक उठाने स्थिर संचालन 5. भारोत्तोलन क्षमता: 0। 5-50टी
इलेक्ट्रिक स्टील वायर रस्सी ऊपर उठाना 5 टन विवरण:

पैकेज और डिलिवरी
■मानक कंटेनर पैकिंग
ग्राहक की आवश्यकताओं के अनुसार
भुगतान के बाद 25 दिनों में डिलीवरी का समय भेज दिया गया

सामान्य प्रश्न
Q1: आप एक कारखाने या एक ट्रेडिंग कंपनी हैं?
हम 30 से अधिक वर्षों के अनुभव के साथ पेशेवर फोर्कलिफ्ट कारखाने हैं, हम आपका स्वागत करते हैं कि आप किसी भी समय हमारे कारखाने का दौरा करें
Q2: भुगतान क्या है?
हम टी / टी, या एलसी . का भुगतान स्वीकार करते हैं
Q3: हम किन Incoterms शर्तों पर काम कर सकते हैं?
आम तौर पर हम एफओबी, सीएफआर, सीआईएफ पर काम करते हैं
Q4: आपकी न्यूनतम आदेश मात्रा क्या है?
MOQ 1 सेट है।
लोकप्रिय टैग: इलेक्ट्रिक रस्सी लहरा 1ton 3ton 5ton चीन, निर्माताओं, आपूर्तिकर्ताओं, अनुकूलित, उद्धरण, प्रस्ताव, मूल्य
जांच भेजें
शायद तुम्हे यह भी अच्छा लगे










